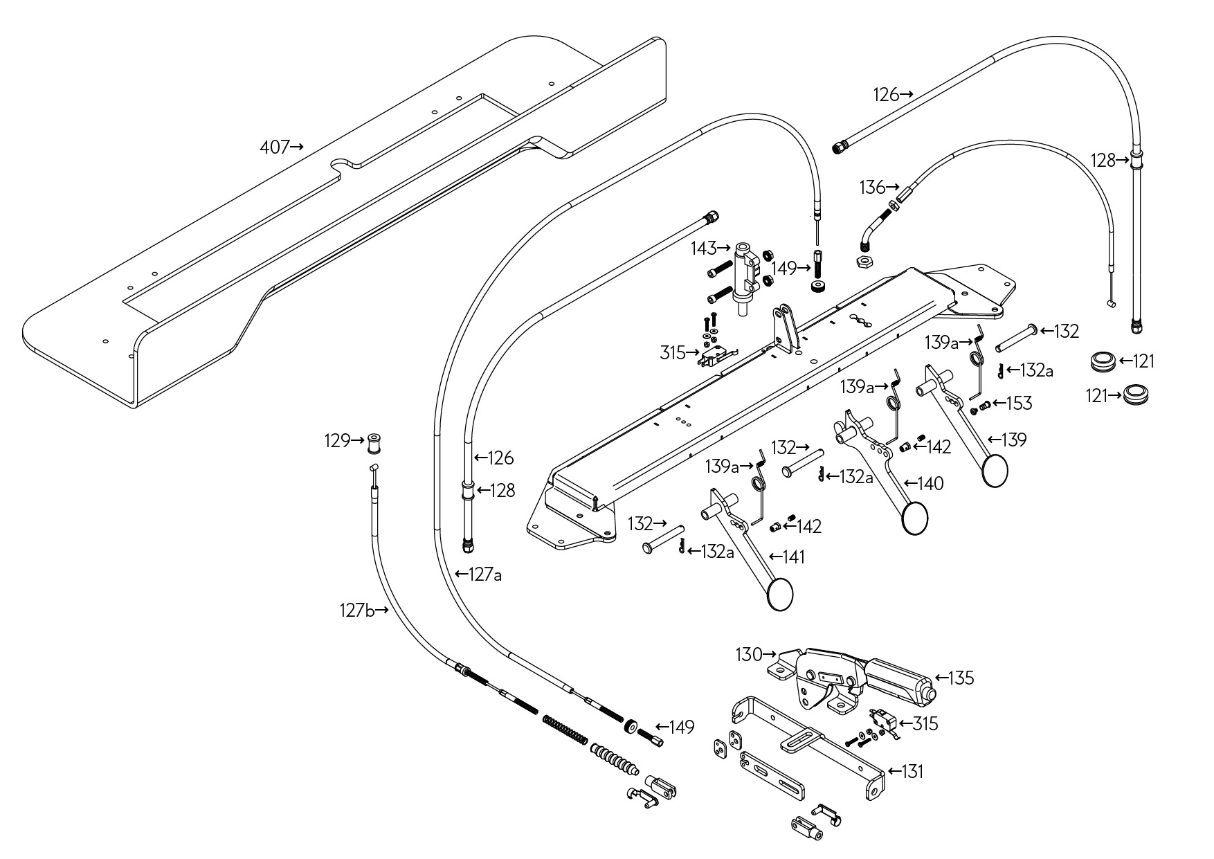
P50 Parts Diagram Lists : Controls
Using original Peel factory reference numbering where available, matched to the parts listed in this diagram..

Rubber Cable Grommet
Front Brake Line
Rear Foot Brake Cable
Handbrake Cable
Grommet (for Brake Lines through Chassis)
Grommet (for Brake Cables through Chassis)
Handbrake Lever
Bracket for Handbrake
Pedal Pivot Bolt
Pedal Pivot Bolt R Clip
Handbrake Lever Grip
Throttle Cable
Pedal Box
Accelerator Pedal
Pedal Return Spring
Brake Pedal
Clutch Pedal
Pedal Cable Nipple
Brake Pedal Rocker
Gear Lever
Gear Lever Knob
Gear Selector Cable (Long)
Gear Selector Cable (Short)
Gear End Gaiters
Gear Lever Plastic Cover
Screws for Plastic Cover
Clutch Cable Complete
Accelerator Cable Nipple
Brake Light Switch
Parcel Shelf Mounlding